Phát sáng bằng LED Thiết bị ngoại vi của hệ thống quan sát bằng hình ảnh Sê-ri CA-D

Đèn góc hẹpĐèn LED phía đối diện có góc chiếu nông để cung cấp chiếu sáng cho góc hẹp
CA-DLR

Ứng dụng
Bề mặt/mép gờ con chip
Thông thường, bề mặt và cạnh các khuyết tật rất khó phát hiện với ánh sáng tiêu chuẩn khi có thay đổi một chút về độ tương phản. Ánh sáng góc hẹp làm nổi bật những thay đổi vật lý ở mục tiêu có thể phát hiện.

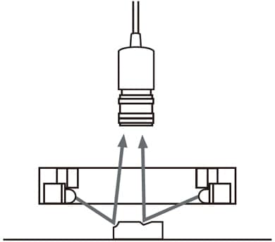
Kỹ thuật chiếu sáng đèn góc hẹp
Chiếu sáng góc hẹp cung cấp ánh sáng trực tiếp ở một góc nông lên mục tiêu. Việc kiểm tra thông thường các cạnh của mục tiêu hoặc lỗi vật lý trên bề mặt rất khó phát hiện với ánh sáng chuẩn chiếu trực tiếp. Do hướng ánh sáng gần như song song với bề mặt nên bất kỳ thay đổi nào về chiều cao bề mặt đều sẽ làm lệch đường chiếu sáng bình thường đến camera, từ đó làm nổi bật sự thay đổi.
Bố trí camera/đèn

Ứng dụng
Mép gờ được tiện
Với ánh sáng chuẩn

Với chiếu sáng góc hẹp

Miệng chai không đồng đều
Với ánh sáng chuẩn

Với chiếu sáng góc hẹp

